СЕКЦИОННЫЕ ТЕПЛООБМЕННИКИ
Название «секционный» указывает на то, что из таких теплообменников, путем соединения их между собой, может быть набрана требуемая поверхность теплообмена. Секционный теплообменник состоит из одной или нескольких теплопередающих труб, заключенных в общем корпусе. Поверхность теплообмена одной секции используемых в промышленности секционных теплообменников составляет 0,75—30 м2, а число труб в секции от 4 до 140.
Длина трубного пучка в одной секции стандартного теплообменника обычно составляет 2 или 4 м.
К разряду секционных можно отнести и теплообменники типа «труба в трубе». Такой аппарат (рис. 1.1а) содержит только одну теплопередающую трубу, коаксиально расположенную внутри корпуса. Теплообменник снабжается патрубками для подвода и отвода теплоносителей. Один из них движется в полости внутренней трубы 2. Другой теплоноситель движется в кольцевом зазоре между внутренней и наружной трубой 1. Внутренняя труба может иметь продольные ребра, приваренные к ней изнутри или снаружи для увеличения поверхности теплообмена со стороны потока с меньшим
коэффициентом теплоотдачи.
Секции теплообменника по ходу движения теплоносителя могут быть соединены последовательно или параллельно. На рис. 1.1б представлено последовательное соединение секций, как по ходу греющего, так и по ходу нагреваемого теплоносителей.

Рисунок 1.1. Секционные теплообменники.
Преимуществами теплообменников типа «труба в трубе» являются высокие коэффициенты теплоотдачи, пригодность для paботы при высоком давлении теплоносителей, простота изготовления, монтажа и обслуживания. К недостаткам относятся: низкая компактность, высокая стоимость из-за большого расхода металла на наружные трубы, не участвующие в теплообмене, сложность очистки кольцевого пространства между трубами.
Теплообменники типа «труба в трубе» используются в основном для нагревания или охлаждения теплоносителя в тех случаях, когда требуются сравнительно небольшие поверхности теплообмена. Они также могут использоваться в процессах, сопровождающихся кипением или конденсацией теплоносителя. Преимущество теплообменника «труба в трубе» заключается в разнообразии компоновок, и, кроме того, они могут быть быстро собраны из стандартных элементов на месте монтажа. При необходимости поверхность теплообмена может быть увеличена за счет установки дополнительных секций. Упрощается контроль распределения потоков теплоносителя по каждому каналу теплообменника, что особенно важно при охлаждении вязких жидкостей, когда в случае необходимости один насос может быть установлен для группы теплообменников.
Главными недостатками теплообменников типа «труба в трубе» являются большой объем и высокая стоимость в расчете на единицу поверхности теплообмена. Дальнейшее развитие конструкции секционных теплообменных аппаратов представляют собой теплообменники (рис. 1.1б), в корпусе 1 которых размещается не одна труба, а пучок труб 2. Такой аппарат компактнее теплообменника типа «труба в трубе» и, в расчете на единицу площади поверхности теплообмена, дешевле.
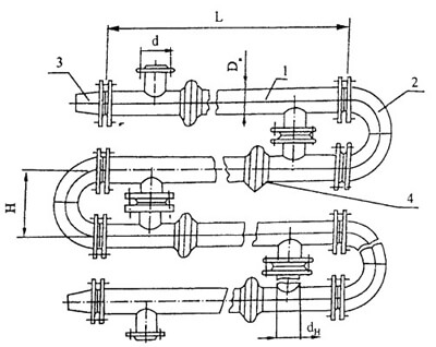
Конструктивное оформление и основные размеры стандартных секционных теплообменников приведены на рис. 1.2, а их технические данные — в табл. 1.1. Общая компоновка секций, соединенных последовательно как по ходу греющего так и по ходу нагреваемого теплоносителя ясна из рис. 1.3. Трубный пучок выполнен из трубок 16 x 1 (первое число – наружный диаметр трубки, второе – толщина стенки трубки).
В третьем столбце табл.1.1 приведены отношения наружного диаметра корпуса теплообменника D* к его внутреннему диаметру Dв.
Следует отметить, что в секционных теплообменниках длина трубного пучка обычно в десятки раз больше диаметра корпуса. Поэтому в них практически осуществимы лишь две схемы движения теплоносителей: прямоточная и противоточная.

Рисунок 1.2. Основные размеры секционных теплообменников без компенсатора температурных удлинений: 1 — секция; 2 — калач с фланцем; 3
— переход с фланцем.

Рисунок 1.3. Компоновка секционных теплообменников с компенсатором температурных удлинений: 1 — секция; 2 — калач с фланцем; 3 —
переход с фланцем; 4 — компенсатор.
Таблица 1.1. Технические данные секционных теплообменников



